两种免费防御DDoS攻击的实战攻略,丛零基础到精通,收藏这篇就够了!_国外在线ddos攻击平台
DDoS攻击,说白了就是网络世界的“流氓群殴”,成本低到令人发指,但杀伤力却能让小网站瞬间瘫痪。看看那些云服务器厂商的高防IP套餐,价格简直是抢钱,而且动不动就限流,超出一点就得交“保护费”。这年头,小本生意太难了!今天,咱们就来聊聊两种的DDoS防御思路,专为囊中羞涩的个人开发者和小型企业量身定制。别怕,咱玩的就是一个“白嫖”,但效果嘛,嘿嘿,绝对超出你的想象。
DDoS攻击,说白了就是网络世界的“流氓群殴”,成本低到令人发指,但杀伤力却能让小网站瞬间瘫痪。看看那些云服务器厂商的高防IP套餐,价格简直是抢钱,而且动不动就限流,超出一点就得交“保护费”。这年头,小本生意太难了!
今天,咱们就来聊聊两种零成本的DDoS防御思路,专为囊中羞涩的个人开发者和小型企业量身定制。别怕,咱玩的就是一个“白嫖”,但效果嘛,嘿嘿,绝对超出你的想象。
CDN:免费午餐还是救命稻草?
CDN,也就是内容分发网络,简单说就是把你的网站内容“复制”到全球各地,让用户就近访问。这玩意儿好处多多,不仅能加速网站访问速度,减轻服务器压力,还能隐藏你的真实IP。用了CDN,DDoS攻击最多也就打到CDN节点,根本伤不到你的“真身”。
说到CDN,就不得不提Cloudflare这位“互联网大善人”。听说过没?Cloudflare曾经免费帮客户挡住了一次史上最大的DDoS攻击,峰值高达每秒2600万次!换成其他按流量计费的CDN,估计直接一夜破产。
当然,也有人会担心,用了Cloudflare的CDN,国内访问速度会不会变慢?我的看法是,速度慢点总比网站直接瘫痪好吧?毕竟活着才是最重要的。如果你对速度有极致追求,Cloudflare的企业级产品也有专门的中国线路优化,但那是要花钱的。咱们今天的主题是“白嫖”,所以还是老老实实用免费套餐吧。
实战环节:手把手教你“空手套白狼”
接下来,咱们直接上干货,手把手教你如何利用Cloudflare配置CDN,保护你的小网站。
首先,你得有一台云服务器,上面跑着你的网站。我这里用的是nginx,部署了一个简单的页面,用IP地址就能访问。
然后,打开Cloudflare官网:
https://dash.cloudflare.com/
你需要准备一个域名,并且把域名托管到Cloudflare上。如果你还不知道怎么购买域名或者获得免费域名,可以去看看我之前的视频,里面有详细教程。
有了域名之后,进入Cloudflare的DNS记录,添加一个DNS解析,把你的域名指向你的服务器IP地址。记住,一定要把代理状态(小黄云)开启!

保存之后,用域名访问你的网站,如果能正常访问,就说明CDN配置成功了。
敲黑板!重点来了! 为了防止DDoS攻击,一定要把你的服务器IP地址藏好,千万别到处乱说。一旦IP泄露,黑客就能绕过CDN,直接攻击你的服务器。
但是,光靠自己不泄露IP还不够,还得防着黑客用网络测绘工具扫描你的IP。比如,黑客可以用fofa这种工具,24小时扫描互联网上的所有IP地址,找到你的服务器。

为了避免这种情况,你需要设置一个IP白名单,只允许Cloudflare的CDN节点访问你的网站,屏蔽掉其他所有IP的访问。
具体操作方法是,在你的云服务器厂商那里,找到安全组设置,创建一个新的安全组,命名为“Cloudflare CDN”。然后,添加入站规则,只允许TCP协议的80端口(HTTP)和443端口(HTTPS)通过。
接下来,你需要找到Cloudflare的CDN节点IP地址列表,这个地址是:
https://www.cloudflare.com/ips/

把这些IP地址添加到你的安全组白名单中。我这里以国内某云服务器厂商为例,演示一下具体操作。

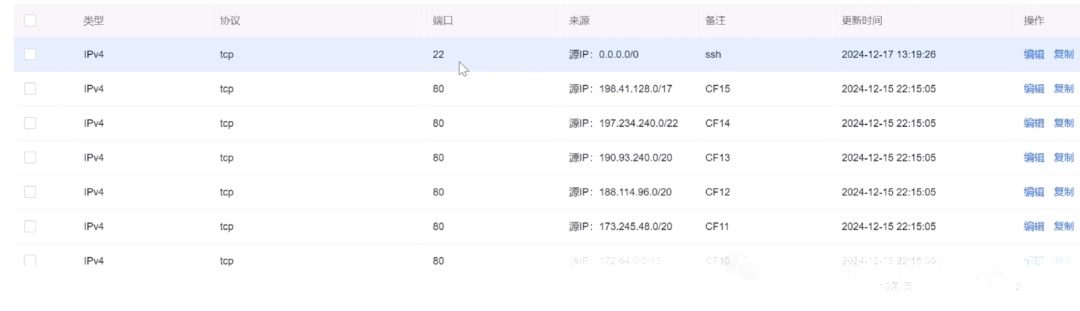
我们点击安全组,然后点击创建安全组,这里我起个名字叫做Cloudflare CDN。我们把允许所有端口访问的关掉,接下来我们添加入站规则。我们添加一条规则,类型的话IPv4只允许TCP协议端口,就是80端口。

我们只需要Cloudflare的CDN节点通过80端口访问到我们的服务器,其他一切无关IP全部屏蔽掉。所以这里IP来源,我们需要填写Cloudflare的CDN节点的IP。
我们进入这个地址, https://www.cloudflare.com/ips/ 这里面的IP地址就是Cloudflare所有的CDN节点的IP地址。

我们把这些IP地址作为白名单,填写到刚才的安全组里面。这里我先选择第一条填上,备注的话我就写CF1,然后确定。

接下来我们填写第二条规则,还是TCP协议80端口,我们把第2条也填写过来,备注的话我叫CF2。总共15条规则,我全部填写到这里。然后我再添加一个规则,这里我需要把22端口开放,因为等下我还要操作服务器。


来源的话就是所有。15条Cloudflare的白名单规则,还有一条22端口的SSH规则,最后我们保存一下这个规则。
把这个规则添加到服务器上面,这里找到我的云服务器,我们点击进来服务器设置。这里有一个安全组,

现在使用的是默认安全组,我们点击这个加号关联安全组,我把Cloudflare CDN安全组选中,
然后把默认安全组取消掉,在这里点击确定。好,我

们来试一下,这里我们直接使用IP地址看看还能不能访问到,可以看到访问不到了。也就是说,我的网站现在只允许Cloudflare的CDN节点来连接,这些奇奇怪怪的网络测绘工具以后再也扫描不到我的服务器了。我们来试一下使用域名能不能连接到服务器,域名还是可以访问的。好,到现在为止,我们已经可以扛住网络层还有传输层的DDoS攻击了。
这样设置之后,你的服务器就只能通过Cloudflare的CDN节点访问,其他任何IP都无法直接访问。这意味着,即使黑客扫描到了你的IP地址,也无法直接攻击你的服务器。
Cloudflare防火墙:进阶防御,让黑客无计可施
有了CDN和IP白名单,你已经可以防御大部分DDoS攻击了。但是,为了更安全,我们还可以使用Cloudflare的免费防火墙,为你的应用层增加抗DDoS攻击的能力。
进入Cloudflare的安全性设置,找到WAF(Web Application Firewall),点击自定义规则。免费用户可以自定义5个防火墙规则,这里我介绍几个比较有用的。

规则一:恶意请求拦截
创建一个名为“恶意请求”的规则,将威胁分数设置为大于等于5。然后,将操作设置为“托管质询”。这意味着,Cloudflare会对每一个入站请求进行分析,如果发现威胁等级大于5,就会弹出一个Turnstile的5秒盾进行人机验证。

规则二:屏蔽国外IP
创建一个名为“屏蔽国外”的规则,将客户的地址设置为“不等于中国”。然后,将操作设置为“阻止”。这意味着,所有来自国外的请求都会被Cloudflare的规则阻止。
规则三:IP访问限制
创建一个名为“IP访问限制”的规则,设置URL路径为“*”,表示保护整个网站。然后,设置具有相同特征为“IP地址”,并设置一个自定义的速率,比如“1次/10秒”。最后,将操作设置为“阻止”。这意味着,同一个IP每10秒钟只能请求一次你的网站,超出限制就会被阻止。

配置完成后,你可以尝试访问你的网站,如果刷新过快,就会看到Cloudflare的速率限制提示。

终极杀招:I’m Under Attack模式
如果你的网站正在遭受DDoS攻击,Cloudflare还有一个终极杀招,那就是将安全级别设置为“I’m Under Attack”。

开启这个模式后,访问你网站的所有请求都必须通过Cloudflare的人机验证才能到达你的网站。这意味着,几乎所有的DDoS攻击都会被拒之门外。
静态网站:釜底抽薪,让攻击无处下手
对于一些企业宣传页、个人博客等静态网站,其实根本不需要传统的服务器部署。

你可以考虑使用免费的静态网站托管服务,比如Github Pages或者Cloudflare。静态网站由纯HTML、CSS和Javascript组成,不需要后台服务器和数据库支持。这意味着,从根本上杜绝了DDoS攻击,因为你连服务器都没有,黑客也就没法攻击了。

我之前有很多视频介绍过使用Github Pages部署免费的静态网站,比如表白代码收藏馆、18秒部署个人博客等等。这些网站功能齐全,甚至可以发表评论,而黑客再厉害,也不可能把Github攻克。
总而言之,DDoS攻击虽然可怕,但并非无解。只要掌握正确的方法,即使是小网站,也能利用免费资源,构建强大的防御体系。
```
网络安全学习资源分享:
给大家分享一份全套的网络安全学习资料,给那些想学习 网络安全的小伙伴们一点帮助!
对于从来没有接触过网络安全的同学,我们帮你准备了详细的学习成长路线图。可以说是最科学最系统的学习路线,大家跟着这个大的方向学习准没问题。
因篇幅有限,仅展示部分资料,朋友们如果有需要全套《网络安全入门+进阶学习资源包》,需要点击下方链接即可前往获取
读者福利 | CSDN大礼包:《网络安全入门&进阶学习资源包》免费分享 (安全链接,放心点击)
👉1.成长路线图&学习规划👈
要学习一门新的技术,作为新手一定要先学习成长路线图,方向不对,努力白费。
对于从来没有接触过网络安全的同学,我们帮你准备了详细的学习成长路线图&学习规划。可以说是最科学最系统的学习路线,大家跟着这个大的方向学习准没问题。

👉2.网安入门到进阶视频教程👈
很多朋友都不喜欢晦涩的文字,我也为大家准备了视频教程,其中一共有21个章节,每个章节都是当前板块的精华浓缩。(全套教程文末领取哈)

👉3.SRC&黑客文档👈
大家最喜欢也是最关心的SRC技术文籍&黑客技术也有收录
SRC技术文籍:

黑客资料由于是敏感资源,这里不能直接展示哦!(全套教程文末领取哈)
👉4.护网行动资料👈
其中关于HW护网行动,也准备了对应的资料,这些内容可相当于比赛的金手指!

👉5.黑客必读书单👈

👉6.网络安全岗面试题合集👈
当你自学到这里,你就要开始思考找工作的事情了,而工作绕不开的就是真题和面试题。
所有资料共282G,朋友们如果有需要全套《网络安全入门+进阶学习资源包》,可以扫描下方二维码或链接免费领取~
读者福利 | CSDN大礼包:《网络安全入门&进阶学习资源包》免费分享 (安全链接,放心点击)

更多推荐



所有评论(0)